Crunchfish Receives European Decision to Grant Patent Preventing Fraudulent Cloning of Trusted Applications
Idag, 15:00
Idag, 15:00
Crunchfish Receives European Decision to Grant Patent Preventing Fraudulent Cloning of Trusted Applications
Crunchfish AB today announces that the European Patent Office has issued a decision to grant a patent covering an innovation that prevents fraudulent use by cloning of a trusted application.

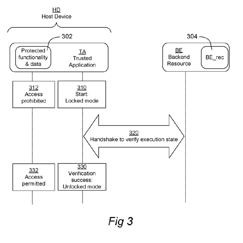
The invention introduces a security mechanism where a trusted application starts in a locked mode, with access to protected functionality and data prohibited, and is only unlocked after a successful verification handshake with a backend resource. This ensures that only a valid, non-cloned instance can execute with full privileges.
The patent application, EP 23 763 791.8, is part of Crunchfish’s broader intellectual property portfolio within secure client-side processing and governed digital applications. The innovation has already been granted in Sweden and is currently patent pending in the United States, strengthening Crunchfish’s global protection against fraud scenarios involving cloned applications.
Preventing cloning at the architectural level
Cloning of trusted applications, whether through rooting, jailbreaking, or other device manipulation, can enable unauthorized duplication of secure applications, leading to risks such as:
•double-spending
•identity misuse
•unauthorized access to protected data
Crunchfish’s invention addresses this at the architectural level by introducing:
•a logical lock at application start-up
•a backend-verified execution state
•a controlled transition to unlocked mode only after verification
As illustrated in Figure 3 above, the trusted application remains locked until a successful handshake confirms that no parallel or cloned instance is executing, after which access to protected functionality is permitted.
Strategic relevance
This innovation strengthens Crunchfish’s position in:
•secure digital wallets
•resilient offline and online payments
•trusted execution environments
By preventing fraudulent cloning, the patent supports secure execution of digital money and applications on user devices, a critical requirement for both financial institutions and regulators.
For more information, please contact:
Joachim Samuelsson, CEO of Crunchfish AB
+46708 46 47 88
joachim.samuelsson@crunchfish.com
This information was provided by the above for publication on April 23rd, 2026, at 15:00 CET.
Västra Hamnen Corporate Finance AB is the Certified Adviser. Email: ca@vhcorp.se. Telephone +46 40 200250.
About Crunchfish –crunchfish.com
Crunchfish is a deep fintech company developing patented governed offline payments technology for payment systems, banks, and payment applications. Its reservation-based Layer-2 architecture enables offline payments to operate as digital money, preserving central ledger authority, bounded exposure, and liquidity anchored within regulated institutions. By structurally aligning banking economics, scalable deployment, and governance continuity, Crunchfish enables offline capability at institutional scale without creating parallel forms of money or unmanaged credit risk. Crunchfish is listed on the Nasdaq First North Growth Market.
Idag, 15:00
Crunchfish Receives European Decision to Grant Patent Preventing Fraudulent Cloning of Trusted Applications
Crunchfish AB today announces that the European Patent Office has issued a decision to grant a patent covering an innovation that prevents fraudulent use by cloning of a trusted application.

The invention introduces a security mechanism where a trusted application starts in a locked mode, with access to protected functionality and data prohibited, and is only unlocked after a successful verification handshake with a backend resource. This ensures that only a valid, non-cloned instance can execute with full privileges.
The patent application, EP 23 763 791.8, is part of Crunchfish’s broader intellectual property portfolio within secure client-side processing and governed digital applications. The innovation has already been granted in Sweden and is currently patent pending in the United States, strengthening Crunchfish’s global protection against fraud scenarios involving cloned applications.
Preventing cloning at the architectural level
Cloning of trusted applications, whether through rooting, jailbreaking, or other device manipulation, can enable unauthorized duplication of secure applications, leading to risks such as:
•double-spending
•identity misuse
•unauthorized access to protected data
Crunchfish’s invention addresses this at the architectural level by introducing:
•a logical lock at application start-up
•a backend-verified execution state
•a controlled transition to unlocked mode only after verification
As illustrated in Figure 3 above, the trusted application remains locked until a successful handshake confirms that no parallel or cloned instance is executing, after which access to protected functionality is permitted.
Strategic relevance
This innovation strengthens Crunchfish’s position in:
•secure digital wallets
•resilient offline and online payments
•trusted execution environments
By preventing fraudulent cloning, the patent supports secure execution of digital money and applications on user devices, a critical requirement for both financial institutions and regulators.
For more information, please contact:
Joachim Samuelsson, CEO of Crunchfish AB
+46708 46 47 88
joachim.samuelsson@crunchfish.com
This information was provided by the above for publication on April 23rd, 2026, at 15:00 CET.
Västra Hamnen Corporate Finance AB is the Certified Adviser. Email: ca@vhcorp.se. Telephone +46 40 200250.
About Crunchfish –crunchfish.com
Crunchfish is a deep fintech company developing patented governed offline payments technology for payment systems, banks, and payment applications. Its reservation-based Layer-2 architecture enables offline payments to operate as digital money, preserving central ledger authority, bounded exposure, and liquidity anchored within regulated institutions. By structurally aligning banking economics, scalable deployment, and governance continuity, Crunchfish enables offline capability at institutional scale without creating parallel forms of money or unmanaged credit risk. Crunchfish is listed on the Nasdaq First North Growth Market.
Rapporter
Analys
Saab
Rapporter
Analys
Saab
1 DAG %
Senast
OMX Stockholm 30
0,28%
(16:28)
Axfood
Idag, 15:39
Axfoods VD: Tillväxten lägre än önskat
Nokia
Idag, 13:22
Stockholmsbörsen fortsätter nedåt
OMX Stockholm 30
1 DAG %
Senast
3 138,03